4.1、采购订单
- 每个商品的生命周期是从采购订单发起后才开始的。企业只有先发起采购订单,开始采购活动,才能有后续的采购收货、采购验收、采购入库、采购退货的环节。采购订单模块用来管理采购订单发起到审批过程中的所有操作。采购订单发起后,等待采购经理或企业负责人审核,审核通过,采购订单生效。生效后的订单不能随意改动,以免数据混乱。
- 采购订单的发起,依赖系统里面存在对应的供应商及其对应的商品。
选择对应的供应商,在商品列表处自动查询出该供应商提供的商品信息,包括商品的名称和商品的规格(型号),用户可以选择点击“采购数量”控件左右的“+”号或者“-”号来填写采购数量,或者手动输入采购数量,输入正确的采购数量后,点击“生产采购订单”,弹出本次“采购订单”的明细页面,如下图:

- 采购订单明细页面记录了本次采购商品的详细信息,系统自动带出了该商品的供应商、生产企业、注册证(备案号)号码等信息,下面是详细的字段说明。
- 新增采购订单明细页面字段说明:
1、采购日期:必填项,用户只能选择当前时间以前的时间来生成采购订单。
2、采购员:用户输入采购员的电话或者姓名进行搜索,前提是至少输入两个字符,系统会自动从企业用户列表中查询出匹配的用户信息。
3、总金额: 采购数量乘以采购单价得出的该商品的价格总和。
4、备注:可选项,本次采购商品的备注信息。
5、商品名称:在新增页面选择的商品名称。
6、注册/备案人:在新增页面选择的商品自动获取商品的注册/备案人,不能修改。
7、生产企业:在新增页面选择的商品自动获取商品的生产企业,不能修改。
8、生产许可证或备案凭证:在“企业管理”模块,录入该商品信息时,上传商品相关证件时,填写的该商品的生产许可证或备案凭证信息。
9、产品注册证或备案凭证:在“企业管理”模块,录入该商品信息时,上传商品相关证件时,填写的该商品的产品注册证或备案凭证信息。
10、规格型号:在“企业管理”模块,录入该商品信息时,填写的该商品规格型号信息。
11、单位:在“企业管理”模块,录入该商品信息时,填写的该商品计量单位信息。
12、采购数量:必填项,用户在新增页面填写的采购数量会带到明细页面,用户可以在该页面对采购数量进行修改。采购数量为不合法的字符时,系统会默认还原成数字1。
13、采购单价: 必填项,本次采购商品的价格,精确到小数点后2位,即人民币单位:"分"。
14、金额: 根据采购数量x采购单价计算得出。
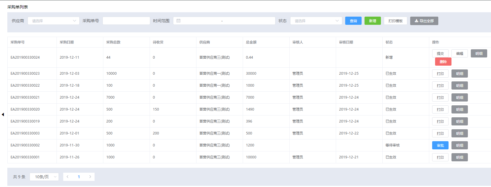
15、新增附件:可选项,用户可以上传本次采购的相关图片信息,作为附件为本次采购提供依据。 填写完采购订单明细页面的相关信息后,点击页面上面的“保存”按钮,则生成了一笔采购订单。内容区域显示添加的采购订单列表信息,用户可以对添加的采购订单进行“提交”、“编辑”、“查看明细”、“删除”操作。内容区域上方提供根据“供应商”、“采购单号”、“采购时间范围”、“采购状态”进行查询功能,提供“打印模板”、“导出全部”的功能,如下图:

功能说明: 1、打印模板:用户可以打印一张空白的采购订单信息模板,上面有采购订单明细页面的相关信息。
2、导出全部:用户可以将增加的采购订单信息或通过查询条件过滤后的采购订单信息导出成excel。采购订单新增
在新增完采购订单后,对应的采购订单列表右侧有“提交”、“编辑”、“明细”、“删除”四个功能按钮。
1、编辑:对新增的采购订单信息进行修改。
2、明细:查看该条采购订单信息。
3、删除:删除该条采购订单信息。注意,进入到审批环节或者审批环节通过后,该采购订单在系统正式生效,则不能再删除。
4、提交:用户新增完采购订单后,提交给对应的审批部门进行审批,只有审批通过后,该采购订单才正式生效。点击“提交”按钮,弹出提示框:“是否确认提交?”点击“取消”则取消本次提交,点击“确定”后,系统弹出提示框:“提交成功,请等待“采购部门”审批。”
系统弹出:请等待“采购部门”审批,是因为管理员在“人事管理”增加相应岗位时,给“采购部门”这个岗位分配了审批采购订单的权限,管理员可以根据企业自身架构,分配其他的岗位对采购订单进行审批。
采购订单审批 具有采购订单审批权限的用户登录系统后,可以看到在该条采购订单右侧的功能按钮有两个:“审批”和“明细”。
1、明细:查看该条采购订单信息,核实信息是否正确。
2、审批:对该条采购订单进行审批。点击“审批”按钮,弹出审批页面,如下图。下方有三个操作按钮,“取消”、“驳回”、“通过”。

采购订单审批操作
1、取消:取消本次审批,回到主页面。
2、驳回:说明该条采购订单的信息存在某些问题,审批人可以驳回该申请,将申请重新回退到发起人,让发起人重新填写正确信息后再次发起申请。点击“驳回”按钮,弹出提示框:“请输入驳回理由”,如下图,审批人输入驳回理由后,点击确定,该申请回退到发起人。发起人看到信息后,可以修改对应信息后,再次提交该申请。 3、通过:
1.点击“通过”按钮,弹出提示框:“确认审批通过吗?”,点击确定,则本次审批通过,该采购订单正式生效。
2.然后会自动生成采购收货单。采购订单退回编辑操作
1.需要先删除审批通过后自动生成的采购收货单
2.删除对应的采购收货单后,会显示退回编辑按钮以及删除按钮。
3.管理员账号才能退回编辑。采购订单状态说明
- 一条采购订单信息在从新增到审批通过过程中共有四种不同的状态。分别是“新增”、“等待审核”、“审批驳回”、“已生效”。
1、新增:该采购订单刚新增,发起人可以提交该申请,使流程进入审批环节,让审批人进行审批,也可以再次编辑该信息,也可以查看该新增申请的明细,也可以删除该新增信息。
2、等待审核:发起人提交该申请后,流程状态由“新增”变为“等待审批”状态。发起人需等待审批人对该信息进行审批。
3、驳回:审批人在审批流程过程中,对流程信息的正确性或者完整性存在疑问,可以驳回该信息。此时该流程处于“审批驳回”状态,鼠标放置到“审批驳回”处,能看到审批人说明的驳回理由。
4、已生效:流程正常审批通过后,流程所处的状态。
