6.5、库存盘点

  • 企业可以每周、每月、每季度进行盘点。盘点仓库实时库存与系统的实时库存是否一致。不一致时查明原因,调整为一致。
  • 库存盘点是为了精确的计算企业营运状况,清点公司内的成品和原材料,和订制公司仓储收发作业准则,以便对仓储货品的收发结存等活动进行有效控制,保证仓储货品完好无损、帐物相符,确保生产正常进行,规范公司物料的盘点作业。
  • 库存盘点需要企业负责人审批。
  • 库存盘点在一月可以盘点多次,根据企业自身的盘点间隔来操作盘点数据。
  • 进入“库存盘点”模块,点击页面上方的“库存盘点”按钮,弹出新增库存盘点页面,用户需要再次点击“获取库存信息”按钮,系统会将当前月份这个时间节点上仓库的仓库情况展示出来。如下图:
    Alt text
  • 盘点出来的列表展示了商品的“商品名称”、“规格(型号)”、“库存数量”等信息,其中“库存数量”就是该商品目前的库存数据信息。点击下方的“保存”按钮,弹出提示信息,“盘点前请先检查所有的单据都已录入、复核完成,盘点开始后将不能进行所有出入库操作,请通知相关人员做好盘点准备!”,点击确定后,盘点数据保存成功。如下图: Alt text

  • 库存盘点添加完成以后,内容区域显示添加的库存盘点列表信息,用户可以对添加的库存盘点进行“打印”、“提交”、“编辑”、“明细”、“删除”操作。内容区页面上方提供根据“仓库”、“盘点期数”、“盘点单号”、进行查询,如下图:
    Alt text

  • 新增库存盘点后操作说明
    在新增完库存盘点后,对应的订单列表右侧有“打印”、“提交”、“编辑”、“明细”、“删除”五个功能按钮。
    1、打印:对新增的库存盘点信息进行打印。
    2、编辑:对新增的库存盘点信息进行修改。
    3、明细:查看该条库存盘点信息。
    4、删除:删除该条库存盘点信息。注意,进入到审批环节或者审批环节通过后,该库存盘点在系统正式生效,则不能再删除。
    5、提交:用户新增完库存盘点后,提交给对应的审批部门进行审批,只有审批通过后,该销售才正式生效。点击“提交”按钮,弹出提示框:“是否确认提交?”
    点击“取消”则取消本次提交,点击“确定”后,系统弹出提示框:“提交成功,请等待“采购部门”审批。”

  • 系统弹出:请等待“采购部门”审批,是因为管理员在“人事管理”增加相应岗位时,给“销售部门”这个岗位分配了审批库存盘点的权限,管理员可以根据企业自身架构,分配其他的岗位对库存盘点进行审批。

  • 库存盘点审批 具有库存盘点审批权限的用户登录系统后,可以看到在该条库存盘点右侧有两个功能按钮:“审批”和“明细”。
    1、明细:查看该条库存盘点信息,核实信息是否正确。
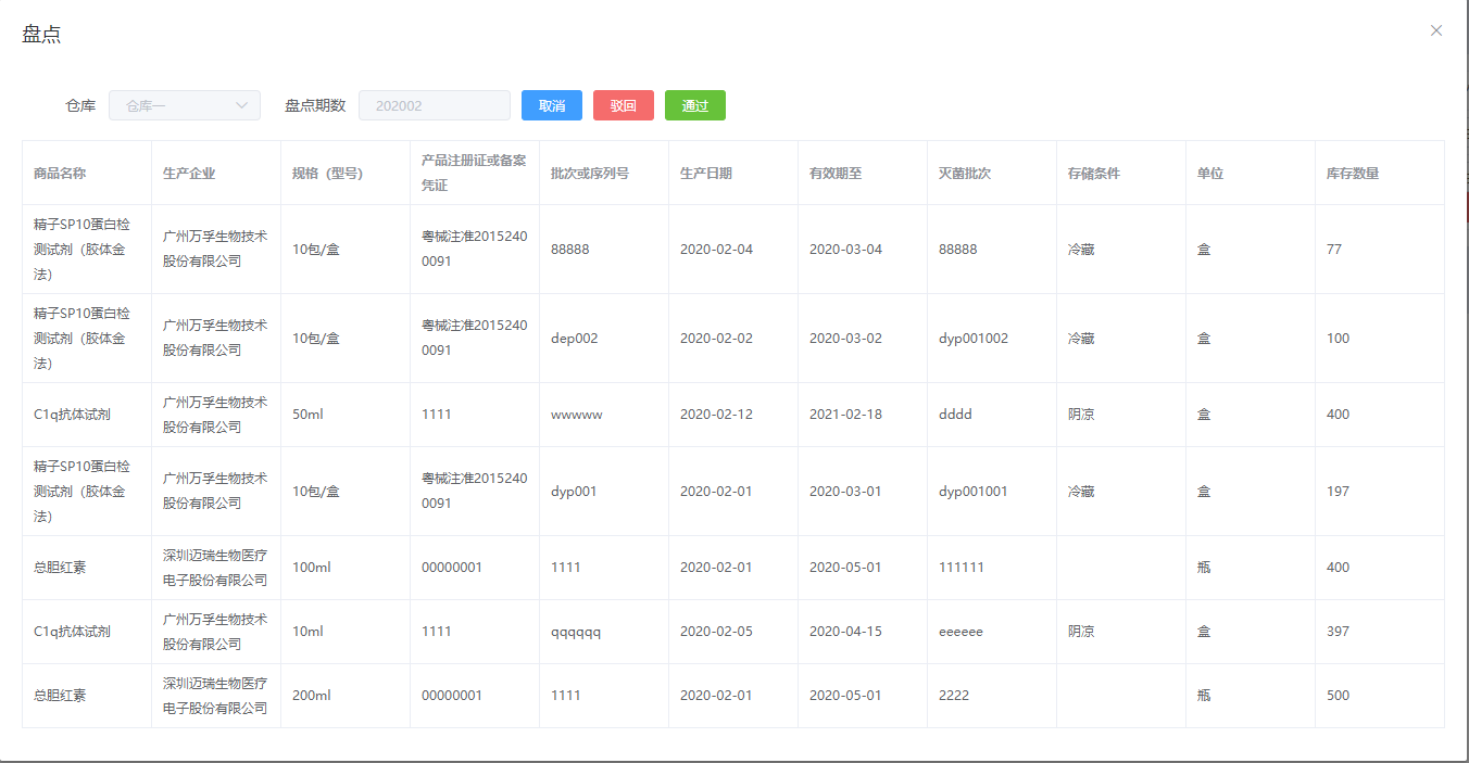
    2、审批:对该条库存盘点进行审批。点击“审批”按钮,弹出审批页面,上方有三个操作按钮,“取消”、“驳回”、“通过”。如下图:
    Alt text

  • 库存盘点审批操作
    1、取消:取消本次审批,回到主页面。
    2、驳回:说明该条库存盘点的信息存在某些问题,审批人可以驳回该申请,将申请重新回退到发起人,让发起人重新填写正确信息后再次发起申请。点击“驳回”按钮,弹出提示框:“请输入驳回理由”,审批人输入驳回理由后,点击确定,该申请回退到发起人。发起人看到信息后,可以修改对应信息后,再次提交该申请。
    3、通过:点击“通过”按钮,弹出提示框:“确认审批通过吗?”,点击确定,则本次审批通过,该库存盘点正式生效。且不能再对该条库存盘点信息进行编辑和删除操作。针对该条订单,页面上只提供打印该库存盘点信息及查看明细功能。

  • 库存盘点状态说明
    一条库存盘点信息在从新增到审批通过过程中共有四种不同的状态。分别是“新增”、“等待审核”、“审批驳回”、“已生效”。
    1、新增:该库存盘点刚新增,发起人可以提交该申请,使流程进入审批环节,让审批人进行审批,可以再次编辑该信息,可以查看该新增申请的明细,可以删除该新增信息。
    2、等待审批:发起人提交该申请后,流程状态由“新增”变为“等待审批”状态。发起人需等待审批人对该信息进行审批。
    3、驳回:审批人在审批流程过程中,对流程信息的正确性或者完整性存在疑问,可以驳回该信息。此时该流程处于“审批驳回”状态,鼠标放置到“审批驳回”处,能看到审批人说明的驳回理由。
    4、已生效:流程正常审批通过后,流程所处的状态。

Copyright © 2019 深圳汇得科技有限公司 all right reserved,powered by Gitbook该文件修订时间: 2024-07-04 10:51:52

results matching ""

    No results matching ""